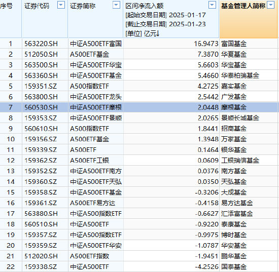
多举措推动中长期资金入市,摩根中证A500ETF(560530)近五日“吸金”超2亿,在A500指数系列基金里排名前列
1月24日,市场全天震荡反弹,摩根中证A500ETF(560530)收涨1.05%,成交额6.73亿元。成份股方面,十大重仓股涨多跌少。宁德时代涨1.7%,东方财富、招商银行等纷纷跟涨。
资金流向方面,昨日摩根中证A500ETF(560530)获资金净流入6635万元,近五日摩根中证A500ETF(560530)获资金净流入超2亿元,在A500指数系列基金里排名前列。

从流动性来看,摩根中证A500ETF(560530)成交额6.73亿元,交投活跃!
规模来看,摩根中证A500ETF(560530)最新规模109.7亿元。自9月24日成立以来,规模从20亿元,增加至109.7亿元,增加89.7亿元,增幅449%。
费率来看,摩根中证A500ETF(560530)管理费年费率0.15%,托管费年费率0.05%,属于同类最低一档。
消息面上,1月22日消息,近日,经中央金融委员会审议同意,中央金融办、中国证监会、财政部、人力资源社会保障部、中国人民银行、金融监管总局联合印发《关于推动中长期资金入市工作的实施方案》。方案提及推动五大类中长期资金入市,包括商业保险资金、全国社会保障基金、基本养老保险基金、企(职)业年金基金、公募基金等,明确要求提升各类资金的A股投资规模和比例。
另外,1月23日,国新办举行新闻发布会,介绍大力推动中长期资金入市,促进资本市场高质量发展有关情况。证监会主席吴清介绍,将抓紧推动第二批保险资金长期股票投资试点落地,规模不低于1000亿元。在现有基础上,引导大型国有保险公司增加A股投资规模和实际比例,其中从2025年起每年新增保费的30%用于投资A股。此外,2025年第二批保险资金长期股票投资试点将在2025年上半年落地,资金规模将不低于1000亿元。
华金证券认为,方案落地提振市场情绪。去年末以来全A成交额逐步缩量,市场情绪有所回落,本轮引入中长期资金入市的政策力度和实施速度均较大,后续风险偏好有望随着政策效果的逐步显现得以修复。短期可能催化春季行情开启,中期强化A股慢牛逻辑。行业方面,鼓励中长期资金入市下非银、科技成长及部分高股息可能受益。
西部证券认为,从战略意义来看,中长期资金是资本市场平稳运行和健康发展的基础。中长期资金是市场的“压舱石”,有助于稳定市场信心,在市场动荡时期也能够发挥“稳定器”的关键作用。此外,这也有助于树立市场的价值投资理念,是新质生产力发展的助推器。中长期机构资金是成熟资本市场的核心资金来源,长期资本制度也助力了资本市场的繁荣。
海通证券认为,伴随政策引导中长期资金入市,A股ETF有望受益于长期资金的配置型力量,同时险资的权益资产配置仍有较大增量空间。春季行情有望徐徐展开,2025年市场有望进入上涨行情的新阶段。
公开资料显示,摩根中证A500ETF(560530)及其场外联接基金(A类022436 /C类022437)被动跟踪中证A500指数,该指数从各行业选取市值较大、流动性较好的500只证券作为指数样本,以反映各行业最具代表性上市公司证券的整体表现。做多中国,首选A500。
相关文章
